CorelDraw X4软件中,我们可以自由绘制不同的图案,图形等等。那么如何绘制圆柱体呢?这里为大家带来详细的绘制步骤分享,快一起来看看吧!
CorelDraw X4怎样绘制圆柱体
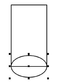
打开CorelDRAW X4软件设置页面长594mm,宽297mm。点击矩形工具设置长100mm宽170mm,坐标x:250mm,y:160mm。
点击椭圆工具在矩形右边适当位置处绘制椭圆,长轴100mm,短轴60mm,并按Ctrl+D键复制一个。
移动一个椭圆到矩形底边,坐标x:250mm,y:75mm。
1点击菜单中窗口——泊坞窗——造形——焊接,绘制出矩形+圆弧图。
移动另一个椭圆到上图顶边,坐标x:250mm,y:245mm。
使用菜单栏中窗口——泊坞窗——造形——修剪,在修剪中设置只保留来源对象进行图象修剪。
假设光源在左上方,选择椭圆使用工具中的渐变填充,填充顶部,再选择圆柱面进行渐变填充。在渐变填充中选择自定义绘制出圆柱的亮面、暗面、明暗交界线。
将轮廓线设为浅灰色,使用菜单栏中排列——群组组合图形。
在页面右侧空白处绘制一个直径为80mm的圆,使用工俱箱中的交互式阴影工具画出阴影。
移动圆阴影到圆柱底部,调整好位置和色度。
使用菜单栏中排列——顺序——到图层后面画出圆柱阴影。
使用菜单栏中排列——群组将圆柱、阴影、光源全部组合。


























